開關電源的起動電路
起動電路包括了電容電路和與電容電路聯接的調理器件。電容電路的電容值可調。調理器件用于在開關電源上電過程中按照設定時序調整電容電路的電容值以改動起動電路的電容值。
實施方法
起動電路中調理器件在開關電源上電過程中調整電容電路的電容值,如此,避免了開關電源發動時對MOS管等器件構成損壞,一同開關電源在發動后能堅持安穩的輸出。此外,還會說明一種開關電源。
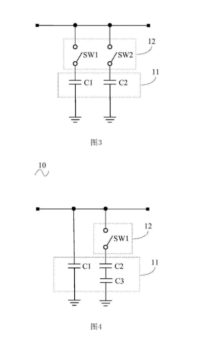
1.開關電源的起動電路包括:電容電路,電容電路的電容值可調;和與電容電路聯接的調理器件,調理器件用于在開關電源上電過程中按照設定時序調整電容電路的電容值以改動起動電路的電容值。電容電路包括多個電容,多個電容并聯,調理器件包括開關器件,開關器件包括與多個電容聯接的至少一個開關件,每個開關件與至少一個與電容串聯。調理器件用于調整可調電容的電容值。
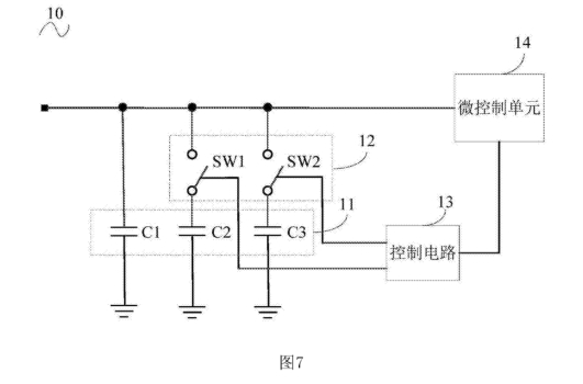
2.以上起動電路其特征在于,起動電路包括與開關器件聯接的控制電路和與控制電路聯接的微控制單元,微控制單元聯接電容電路并用于在開關電源上電過程中控制控制電路按照設定時序驅動開關件的通斷情況調整電容電路的電容值。電路包括榜首電阻、第三極管和榜首二極管,榜首三極管的基極聯接榜首電阻的一端,榜首三極管的集電極聯接榜首二極管的正極和開關件,第一三極管的發射極接地,榜首電阻的另一端聯接微控制單元,榜首二極管的負極聯接預定供電電壓和開關件。
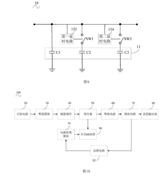
3.起動電路的控制電路包括榜首電阻、場效應管和榜首二極管,場效應管的柵極聯接榜首電阻的一端,場效應管的漏極聯接榜首二極管的正極和開關件,場效應管的源極接地,第--電阻的另一端聯接微控制單元,榜首二極管的負極聯接預定供電電壓和開關件。開關件包括繼電器或NMOS管。起動電路包括與開關器件聯接的延時電路用于在開關電源上電過程中按照設定時序驅動所開關件的通斷情況調整電容電路的電容值。
4.開關電源包括交流電源、整流模塊、儲能器件、變壓器、整流電路、濾波電路、直流輸出端、開關MOS管、電源處理模塊和反響電路,交流電源、整流模塊、儲能器件、變壓器、整流電路、濾波電路和直流輸出端順次聯接,反響電路聯接濾波電路和電源處理模塊,開關MOS管聯接變壓器和電源處理模塊,濾波電路包括起動電路。
開關電源的起動電路和開關電源布景技能.
在相關技能中,為了保持開關電源的輸出安穩,開關電源的輸出端常常聯接了較大的電容。例如,在音頻電路中,為了尋求出色的音質,開關電源中常常接入較大的電容。但是電容變大會導致開關電源發動時對MOS管的沖擊過大,構成MOS管的損壞。
本發明實施方法的開關電源的起動電路,包括:
電容電路,電容電路的電容值可調;和與電容電路聯接的調理器件,調理器件用于在開關電源上電過程中按照設定時序調整電容電路的電容值以改動起動電路的電容值。如此,避免了開關電源發動時對MOS管等器件構成損壞,一同開關電源在發動后能堅持安穩的輸出。
關鍵元件及符號闡明:
起動電路10、電容電路11、調理器件12、控制電路13、微控制單元14、榜首延時電路152、第二延時電路154、交流電源20、整流模塊30、儲能器件40、變壓器50、整流電路60、濾波。


